開発力・製造力・商社力 三つの力でお客様のご要望にお応えいたします

3ポート光サーキュレータは、ポート1に入射した光はポート2で出射、ポート2に入射した光はポート3で出射するように光が進む素子です。本製品は1060nmの波長帯で動作し偏光に関係なく使用できる3ポート光サーキュレータです。
| パラメータ | 単位 | 値 |
|---|---|---|
| ポート数 | – | 3ポート |
| 動作波長 | nm | 1060 |
| 帯域幅 | nm | ±10 |
| 挿入損失 | dB | ≦2.1(Typ. 1.8) |
| アイソレーション | dB | ≧20(Typ. 25) |
| 波長依存損失(WDL) | dB | ≦0.2 |
| 偏波依存損失(PDL) | dB | ≦0.2 |
| リターンロス | dB | ≧50 |
| クロストーク | dB | ≧45 |
| 入射光パワー | mW | ≦300 |
| 動作温度 | ℃ | 0 ~ +70 |
| 保管温度 | ℃ | -40 ~ +85 |
| ファイバタイプ | – | HI 1060 |
| ファイバ長 | m | 0.8 |
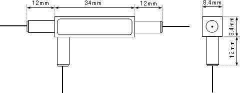
| サイズ | mm | 34 x 8.4 x 8.4 |
| メーカ | – | Opneti communications |

